¡¾ÉìËõÆ÷ϵÁС¿
¡¾´«Á¦½ÓͷϵÁС¿
¡¾·ÀË®Ì×¹ÜϵÁС¿
¡¾²¹³¥Æ÷ϵÁС¿
¡¾Ï𽺽ÓͷϵÁС¿

·ÀË®Ì׹ܣ¬Óֽд©Ç½Ì׹ܣ¬´©Ç½¹Ü¡£ÈáÐÔ·ÀË®Ì×¹ÜÒ»°ãÊÊÓÃÓڹܵÀ´©¹ýǽ±ÚÖ®´¦ÊÜÓÐÕñ¶¯»òÓÐÑÏÃÜ·ÀˮҪÇóµÄ¹¹ÖþÎÌ׹ܲ¿·Ö¼Ó¹¤Íê³Éºó£¬ÔÚÆäÍâ±Ú¾ùË¢µ×ÆáÒ»±é£¨µ×Æá°üÀ¨ÕÁµ¤»òÀäµ××ÓÓÍ£©¡£·ÀË®Ì׹ܷÖΪ¸ÕÐÔ·ÀË®Ì׹ܺÍÈáÐÔ·ÀË®Ì׹ܡ£Á½ÕßÖ÷ÒªÊÇʹÓõĵط½²»Ò»Ñù£¬ÈáÐÔ·ÀË®Ì×¹ÜÖ÷ÒªÓÃÔÚÈË·Àǽ£¬Ë®³ØµÈÒªÇóºÜ¸ßµÄµØ·½£¬¸ÕÐÔ·ÀË®Ì×¹ÜÒ»°ãÓÃÔÚµØÏÂÊҵȹܵÀÐè´©¹ÜµÀµØÎ»Öá£
ÈáÐÔ·ÀË®Ì×¹ÜÊÇÊÊÓÃÓڹܵÀ´©¹ýǽ±ÚÖ®´¦ÊÜÓÐÕñ¶¯»òÓÐÑÏÃÜ·ÀˮҪÇóµÄ¹¹ÖþÎïµÄÎå½ð¹Ü¼þ£¬Ò»°ãÉú²úÆóÒµÊǸù¾Ý½¨Öþ¿ÆÑ§Ñо¿ÔºÑÐÖÆÉè¼ÆµÄS312¡¢02S404±ê׼ͼ¼¯ÖÆÔìµÄ¡£ÈáÐÔ·ÀË®Ì׹ܴ©Ç½´¦Ö®Ç½±Ú£¬ÈçÓö·Ç»ìÄýÍÁʱӦ¸ÄÓûìÄýÍÁǽ±Ú£¬¶øÇÒ±ØÐ뽫Ì×¹ÜÒ»´ÎÄý¹ÌÓÚǽÄÚ£»ÈáÐÔ·ÀË®Ì×¹ÜÊ©¹ã·ºÓÃÓÚ½¨Öþ¡¢»¯¹¤¡¢¸ÖÌú¡¢×ÔÀ´Ë®¡¢ÎÛË®´¦ÀíµÈµ¥Î»¡£¡¡
¸ÕÐÔ·ÀË®Ì×¹ÜÊǸֹÜÍâ¼ÓÒí»·£¨¸Ö°å×öµÄ»·ÐÎÌ×ÔÚ¸Ö¹ÜÉÏ£©£¬×°ÓÚǽÄÚ£¨¶àΪ»ìÄýÍÁǽ£©£¬ÓÃÓÚÒ»°ã¹ÜµÀ´©Ç½£¬ÀûÓÚǽÌåµÄ·ÀË®£¬¶øÈáÐÔ·ÀË®Ì׹ܳýÁËÍⲿÒí»·£¬ÄÚ²¿»¹ÓеµÈ¦Ö®ÀàµÄ£¬·¨À¼ÄÚË¿£¬ÓгÉÌ×ÂôµÄ£¬Ò²¿É×Ô¼º¼Ó¹¤£¬ÓÃÓÚÓмõÕðÐèÒªµÄ¹Ü·£¬ÈçºÍË®±ÃÁ¬½ÓµÄ¹ÜµÀ´©Ç½Ê±¡£
²»¹ÜÊÇÈáÐÔ·ÀË®Ì׹ܻ¹ÊǸÕÐÔ·ÀË®Ì׹ܶ¼ÊÇÓÃÓڹܵÀ´©¹ýÊÜÓÐÕñ¶¯»òÓÐÑÏÃÜ·ÀˮҪÇóµÄ½¨ÖþÎïǽ±ÚµÄÎå½ðÅä¼þ£¬³£ÓÃÓÚ½¨Öþ¡¢»¯¹¤¡¢¸ÖÌú¡¢×ÔÀ´Ë®¡¢ÎÛË®´¦ÀíµÈµ¥Î»¡£
¸ÕÐÔ·ÀË®Ì׹ܺÍÈáÐÔ·ÀË®Ì×¹Ü×îÖ±¹ÛµÄ²»Í¬£¬Íâ¹ÛÉÏ¿´¾ÍÊDz»Í¬µÄ£¬ÈáÐÔ·ÀË®Ì×¹ÜÄÚ²¿ÓÐÏð½ºÖ¹Ë®»·£¬ÈçÓÃÔÚË®³Ø±Úʱ·Àֹ©ˮ¡£ËüÃǰ²×°³¤¶ÈÊDz»Ò»ÑùµÄ£¬ÈáÐÔÌ׹ܵıê×¼³¤¶ÈÊÇ300mm¶ø¸ÕÐÔÌ׹ܵıê×¼³¤¶ÈÊÇ200mm£¬µ«ÊÇËüÃÇÓиö¹²Í¬µã¾ÍÊÇ¿ÉÒÔÊ©¹¤µÄÐèÒªÈÎÒâ¼Ó³¤»ò¼õ¶Ì¡£
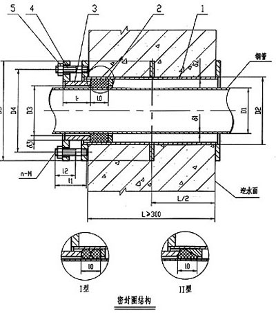
02S404ÈáÐÔ·ÀË®Ì×¹Ü˵Ã÷£º
1¡¢±¾Í¼³ß´ç¾ùÒÔºÁÃ×À´¼Æ¡£
2¡¢ÈáÐÔ·ÀË®Ì×¹ÜÒ»°ã´©¹ýǽ±ÚÖ®´¦ÊÜÓÐÕñ¶¯»òÓÐÑÏÃÜ·ÀˮҪÇóµÄ¹¹ÖþÎï¡£
3¡¢Ì׹ܲ¿·Ö¼Ó¹¤Íê³Éºó£¬ÔÚÆäÍâ±Ú¾ùË¢µ×ÆáÒ»±é£¨µ×Æá°üÀ¨ÕÁµ¤»òÀäµ××ÓÓÍ£©¡£Íâ²ã·À¸¯ÓÉÉè¼Æ¾ö¶¨¡£
4¡¢Ì׹ܴ©Ç½Ö®Ç½±Ú£¬ÈçÓö·Ç»ìÄýÍÁǽ±ÚʱӦ¸ÄÓûìÄýÍÁǽ±Ú£¬Æä½½×¢»ìÄýÍÁ·¶Î§Ó¦±ÈÒí»·Ö±¾¶£¨ D6 £©´ó 200mm £¬¶øÇÒ±ØÐ뽫Ì׹ܽ½¹ÌÓëǽÄÚ¡£
5¡¢´©¹Ü´¦Ö®»ìÄýÍÁǽºñÓ¦²»Ð¡ÓÚ 300mm ·ñÔòӦʹǽ±ÚÒ»±ß¼Óºñ»òÁ½±ß¼Óºñ¡£¼Óºñ²¿·ÖµÄÖ±¾¶×îСӦ±ÈÒí»·Ö±¾¶£¨ D6 £© 200mm
6¡¢Ì׹ܵIJÄÁÏÖØÁ¿Êǰ´Ç½ºñ L ֵΪ 300mm Ó¦ÁíÐмÆËã¡£
7¡¢Ì׹ܲ¿¼þº¸½Ó²ÄÁÏ£¬Óà A3 ²ÄÁÏÖÆ×÷£¬ T42 º¸½Ó¡£

IÐÍÈáÐÔ·ÀË®Ì×¹Ü˵Ã÷£º
1¡¢µ±ÓË®ÃæÎª¸¯Ê´ÐÔ½éÖÊʱ£¬¿É²ÉÓ÷â¶Â²ÄÁϽ«·ì϶·â¶Â¡£
2¡¢Ì׹ܴ©Ç½´¦ÈçÓö·Ç»ìÄýÍÁǽ±Úʱ£¬Ó¦¾Ö²¿¸ÄÓûìÄýÍÁǽ±Ú£¬Æä½½×¢·¶Î§Ó¦±ÈÒí»·Ö±¾¶£¨D5£©´ó200£¬¶øÇÒ±ØÐ뽫Ì×¹ÜÒ»´Î½½¹ÌÓÚǽÄÚ¡£
3¡¢´©¹Ü´¦»ìÄýÍÁǽºñÓ¦²»Ð¡ÓÚ300£¬·ñÔòӦʹǽ±ÚÒ»±ß¼Óºñ»òÁ½±ß¼Óºñ£¬¼Óºñ²¿·ÖµÄÖ±¾¶ÖÁÉÙΪD5+200¡£
4¡¢Ì׹ܵÄÖØÁ¿ÒÔL=300¼ÆË㣬Èçǽºñ´óÓÚ300ʱ£¬Ó¦ÁíÐмÆËã¡£

IIÐÍÈáÐÔ·ÀË®Ì×¹Ü˵Ã÷£º
1¡¢ÈáÐÔÌîÁϲÄÁÏ£ºÁ¤ÇàÂéË¿¡¢¾Û±½ÒÒÏ©°å¡¢¾ÛÂÈÒÒÏ©ÅÝÄËÜÁϰ塣
2¡¢ÃÜ·â¸à£º¾ÛÁòÃÜ·â¸à¡¢¾Û°·Ö¬ÃÜ·â¸à¡£
3¡¢Ì׹ܴ©Ç½´¦ÈçÓö·Ç»ìÄýÍÁǽ±Úʱ£¬Ó¦¾Ö²¿¸ÄÓûìÄýÍÁǽ±Ú£¬Æä½½×¢·¶Î§Ó¦±ÈÒí»·Ö±¾¶£¨D5£©´ó200£¬¶øÇÒ±ØÐ뽫Ì×¹ÜÒ»´Î½½¹ÌÓÚǽÄÚ¡£
4¡¢´©¹Ü´¦»ìÄýÍÁǽºñÓ¦²»Ð¡ÓÚ300£¬·ñÔòӦʹǽ±ÚÒ»±ß¼Óºñ»òÁ½±ß¼Óºñ£¬¼Óºñ²¿·ÖµÄÖ±¾¶ÖÁÉÙΪD5+200¡£
5¡¢Ì׹ܵÄÖØÁ¿ÒÔL=300¼ÆË㣬Èçǽºñ´óÓÚ300ʱ£¬Ó¦ÁíÐмÆËã¡£
¼¼Êõ²ÎÊý£º
02S404ÈáÐÔ·ÀË®Ì×¹ÜÖÊÁ¿ÒªÇó
|
Ãû³Æ |
±ê×¼ |
|
Ïð½ºÃÜ·âȦµÄÓ²¶È¡¢ |
HG/T3091£º2000 |
|
½ðÊô±íÃæÉúÐâ´¦Àí |
GB8923-88/±ê×¼ÖеÄST3 |
02S404ÈáÐÔ·ÀË®Ì×¹ÜÖ÷Òª³ß´ç¡¢ÖØÁ¿±í
| DN | D1 | D2 | D3 | D4 | D5 | I | 10 | I1 | I2 | D1 | D2 | D3 | n-M | AÐÍÖØÁ¿(kg£© | BÐÍÖØÁ¿(kg) | |||
| IÐÍ | ¢òÐÍ | IÐÍ | ¢òÐÍ | IÐÍ | ¢òÐÍ | |||||||||||||
| 50 | 60 | 95 | 65 | 145 | 200 | 65 | 28 | - | 72 | 30 | 3.5 | 4 | 8 | 4-M12 | 14.40 | - | 14.60 | - |
| 65 | 76 | 114 | 80 | 165 | 220 | 65 | 28 | 25 | 72 | 30 | 3.75 | 4 | 8 | 4-M12 | 16.89 | 17.07 | 17.18 | 17.35 |
| 80 | 89 | 127 | 95 | 180 | 235 | 65 | 28 | 25 | 76 | 38 | 4 | 4 | 10 | 4-M16 | 21.12 | 21.31 | 21.42 | 21.61 |
| 100 | 108 | 146 | 114 | 200 | 255 | 65 | 28 | 25 | 76 | 38 | 4 | 4.5 | 10 | 4-M16 | 24.37 | 24.58 | 24.71 | 24.92 |
| 125 | 133 | 180 | 140 | 235 | 290 | 65 | 28 | 25 | 76 | 38 | 4 | 6 | 10 | 6-M16 | 31.92 | 32.31 | 32.43 | 32.82 |
| 150 | 159 | 203 | 165 | 260 | 315 | 65 | 28 | 25 | 76 | 38 | 4.5 | 6 | 10 | 6-M16 | 35.77 | 36.17 | 36.31 | 36.72 |
| 200 | 219 | 265 | 226 | 320 | 375 | 65 | 28 | 25 | 76 | 38 | 6 | 6 | 10 | 6-M16 | 44.69 | 45.29 | 45.29 | 45.87 |
| 250 | 273 | 325 | 280 | 380 | 435 | 65 | 28 | 25 | 76 | 38 | 8 | 8 | 10 | 8-M16 | 59.41 | 60.22 | 60.43 | 61.33 |
| 300 | 325 | 377 | 333 | 435 | 495 | 72 | 28 | 30 | 90 | 46 | 8 | 10 | 10 | 8-M20 | 89.37 | 90.02 | 90.35 | 91.14 |
| 350 | 377 | 426 | 385 | 485 | 545 | 72 | 32 | 30 | 90 | 46 | 10 | 10 | 10 | 8-M20 | 99.74 | 100.3 | 100.7 | 101.5 |
| 400 | 426 | 480 | 435 | 540 | 600 | 72 | 32 | 30 | 90 | 46 | 1O | 10 | 10 | 12-M20 | 114.0 | 114.8 | 115.3 | 116.4 |
| 450 | 480 | 530 | 488 | 590 | 650 | 72 | 32 | 30 | 90 | 46 | 10 | 1O | 10 | 12-M20 | 124.1 | 124.7 | - | - |
| 500 | 530 | 585 | 538 | 645 | 705 | 72 | 32 | 30 | 90 | 46 | 10 | 10 | 10 | 16-M20 | 139.3 | 140.5 | - | - |
| 600 | 630 | 690 | 640 | 755 | 820 | 75 | 32 | 30 | 104 | 54 | 10 | 10 | 12 | 16-M24 | 197.2 | 198.2 | - | - |
| 700 | 720 | 780 | 730 | 845 | 910 | 75 | 40 | 30 | 104 | 54 | 10 | 1O | 12 | 20-M24 | 222.6 | 223.7 | - | - |
| 800 | 820 | 880 | 830 | 950 | 1020 | 80 | 40 | 40 | 117 | 60 | 10 | 10 | 12 | 20-M27 | 280.0 | 282.3 | - | - |
| 900 | 920 | 980 | 930 | 1050 | 1120 | 80 | 40 | 40 | 117 | 60 | 10 | 10 | 12 | 20-M27 | 309.6 | 312.2 | - | - |
| 1000 | 1020 | 1080 | 1030 | 1150 | 1220 | 80 | 40 | 40 | 117 | 60 | 10 | 10 | 12 | 24-M27 | 341.1 | 344.0 | - | - |
×¢£º¶©»õʱעÃ÷¹Ü×ÓÍâ¾¶£¬´óÓÚDN1400¡¢Ç½ºñ´óÓÚ»òСÓÚ300mmµÄ²úÆ·¿É¶©ÖƼӹ¤¡£